Order by 3rd November for pre-Christmas delivery

How to Install Curtain Tracks

We’ve made installing both models of our curtain tracks easy. Just follow our simple guides below and you’ll have your curtain tracks up in no time! If you’re unsure which model of track you have, get in touch with our friendly team and they’ll be able to help. Our custom made curtain tracks are suitable for wall mounting or ceiling mounting - - - the choice is yours.

Wall mounting your track

  1. Measure from where you’d like your curtains to fall and mark the installation height for each bracket. Your brackets should be no more than 120cm apart.
  2. Hold the bracket against the wall so that the bottom of your bracket lines up with your installation height and mark your drill holes.
  3. Carefully drill your holes.
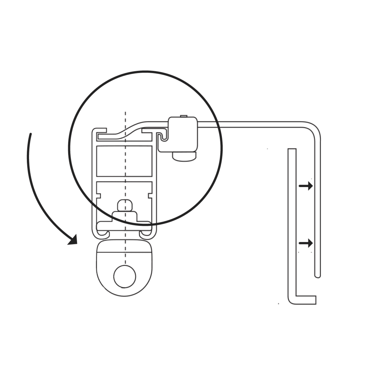
  4. Screw your brackets into the wall and mount your track by sliding the arm of the bracket under the lip of the track and tighten the fastening screw.
  5. If you need to join tracks together, centre the magnetic plate and tighten the grub screw. Finish by placing the front plate onto your track (the magnet will hold it in place).

Ceiling mounted tracks (no brackets)

  1. Tracks normally come pre-drilled if they have been specified as ceiling mount. If not, you can drill holes through the centre of your track at 20cm intervals.
  2. Fix your track to the ceiling by screwing the track directly onto the ceiling.
  3. The distance you want to hang your track from the wall can vary. For a wave heading it needs to be 60mm, or it can be 40mm for pinch pleat headings
  • Caution: When ceiling fixing bendable tracks, do not over tighten screws as this can deform the track and cause the gliders to jam.

Bending bay window tracks

  1. Identify the front and back of the track.
  2. Measure out the length of each window on your bay, and mark on the track where it needs bending.
  3. Gently bend the track using your knee. Bend the track slightly, then check the angle as you go (the track will not easily bend back if you over bend it).
  4. To install, follow the standard track instructions depending on whether you’ve chosen wall mounted or ceiling mounted tracks.

Drilling your holes

  • Brick walls: Use a 5.5mm masonry drill bit, and insert rawl plugs
  • Plasterboard walls: Use an ordinary 5.5mm drill bit and insert rawl plugs
  • Wood frames: Use an ordinary 2mm drill bit to create a pilot hole